HALDER Altıgen, mantar tutamaklı ve kilitli Kompakt indeksleme pistonları
HALDER
HALDER Altıgen, mantar tutamaklı ve kilitli Kompakt indeksleme pistonları
Whatsapp ile Sipariş Ver

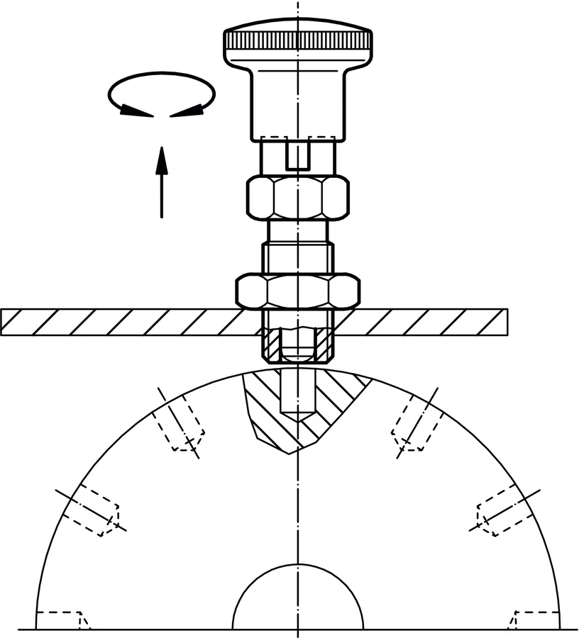
İndeksleme pistonları, deliklerin indekslenmesinde kullanılır.

Kilitli ve kilitsiz tiplerin yapı yükseklikleri aynıdır.

Diş girintisi sayesinde endeks pistonları tamamen vidalanabilir.

Siparişim ne zaman elime ulaşır?
Stok durumu ve bilgi almak için ne yapmalıyım?
Yorum bulunamadı